JIS Hex Head Flange Bolt
1.Hex Head Flange Bolts JIS B1189
2.Source bolt manufacturer, own factory: with price advantage, eliminating the price difference of middlemen.
3.Adopt the industry's top high-quality thickened steel, high stability and long-lasting durability.
4.Support customer customization.
5.Professional sales and after-sales service, welcome to inquire at any time.
6.Delivery on time.
JIS Hex Head Flange Bolt: A Comprehensive Guide
When it comes to fasteners, JIS Hex Head Flange Bolts are essential components that play a significant role in a wide variety of applications. These bolts are commonly used in industrial, automotive, and construction settings, providing secure fastening solutions for critical assemblies. The JIS Hex Head Flange Bolt combines the traditional hex head with a built-in flange, offering a unique advantage in terms of ease of installation, load distribution, and vibration resistance.
In this article, we will explore everything you need to know about JIS Hex Head Flange Bolts, including their design, features, applications, and why they are the preferred choice in many industries.
What is a JIS Hex Head Flange Bolt?
A JIS Hex Head Flange Bolt is a type of fastener characterized by a hexagonal head and an attached flange at the base of the head. The “JIS” stands for the Japanese Industrial Standard, a set of guidelines used to regulate the design and manufacturing of components in various industries. The JIS Hex Head Flange Bolt is designed to provide high strength and secure fastening while offering better load distribution compared to traditional bolts.
The flange, which is typically wider than the head, acts as a washer, helping to distribute the load more evenly across the surface. This unique design reduces the risk of material damage and helps prevent the bolt from loosening due to vibrations or dynamic forces.
Key Features of JIS Hex Head Flange Bolts
✅ Hexagonal Head for Easy Tightening
The hexagonal head of the JIS Hex Head Flange Bolt makes it easy to tighten and loosen using standard tools, such as wrenches or socket sets. This provides convenience during installation and maintenance, as it allows for better torque application.
✅ Built-in Flange for Improved Load Distribution
One of the defining features of the JIS Hex Head Flange Bolt is its built-in flange. This flange acts as a washer, distributing the load more evenly across the surface it is fastened to. This is particularly beneficial when working with soft or thin materials that may otherwise deform under concentrated pressure from a traditional bolt.
✅ Prevents Loosening Due to Vibration
The design of the JIS Hex Head Flange Bolt also helps prevent loosening over time, especially in environments where vibrations are a concern. The flange provides additional friction between the bolt and the material it fastens, which helps to secure the bolt and reduce the risk of loosening.
✅ Corrosion Resistance
Many JIS Hex Head Flange Bolts are made from corrosion-resistant materials, such as stainless steel, making them suitable for outdoor use or in environments exposed to moisture and other harsh conditions. These bolts are designed to withstand rust and corrosion, ensuring their durability and longevity.
✅ Versatile Applications
JIS Hex Head Flange Bolts are available in a variety of sizes and materials, making them suitable for a wide range of applications. From heavy-duty machinery to automotive components, these bolts provide the strength and reliability needed for secure fastening.
Applications of JIS Hex Head Flange Bolts
Due to their superior design and functionality, JIS Hex Head Flange Bolts are used in many industries, including:
✅ Automotive Industry
In the automotive industry, JIS Hex Head Flange Bolts are often used to secure engine components, suspension systems, and other critical parts. The ability to withstand vibrations and dynamic loads makes them ideal for automotive applications, where safety and performance are paramount.
✅ Construction and Infrastructure
In construction, these bolts are used to fasten structural components, such as beams, columns, and machinery. The JIS Hex Head Flange Bolt’s flange design provides better load distribution, making it particularly useful for large-scale infrastructure projects that require strong, durable fastening.
✅ Heavy Machinery and Equipment
Heavy machinery and equipment also rely on JIS Hex Head Flange Bolts to secure components that are subjected to high stresses. Whether used in cranes, bulldozers, or other industrial machines, these bolts ensure that critical parts remain securely fastened, even under heavy use.
✅ Marine and Aerospace Applications
In marine and aerospace industries, JIS Hex Head Flange Bolts are used to fasten parts exposed to extreme conditions, including high moisture levels, temperature fluctuations, and high-stress environments. Their corrosion resistance and load-bearing capabilities make them essential for ensuring safety and reliability in these industries.
Advantages of Using JIS Hex Head Flange Bolts
✅ Improved Safety and Performance
The flange of the JIS Hex Head Flange Bolt helps distribute the load more evenly, reducing the risk of stress concentrations that can cause material failure. This improves the overall safety and performance of the assembly, making it ideal for high-stakes environments where reliability is critical.
✅ Reduced Risk of Loosening
Thanks to the friction provided by the flange, JIS Hex Head Flange Bolts are less likely to loosen over time, even in vibrating or dynamic environments. This ensures that your assembly remains intact, preventing costly repairs or failures down the line.
✅ Cost-Effective and Efficient
Since the JIS Hex Head Flange Bolt acts as both a bolt and a washer, it eliminates the need for separate washers, making it a cost-effective and efficient solution. This reduction in the number of components required simplifies the assembly process and saves on material costs.
✅ Long-Term Durability
The corrosion-resistant properties of many JIS Hex Head Flange Bolts make them ideal for long-term use, even in harsh environments. Their durability ensures that they can handle extreme temperatures, moisture, and other harsh conditions, resulting in fewer replacements and maintenance.
How to Choose the Right JIS Hex Head Flange Bolt
When selecting a JIS Hex Head Flange Bolt, consider the following factors:
✅ Material and Finish
Choose a bolt material based on the environmental conditions it will be exposed to. Stainless steel, for example, offers excellent corrosion resistance, while zinc-plated steel is suitable for more standard applications.
✅ Size and Thread Type
Make sure that the bolt size and thread type match the requirements of your project. The correct size will ensure proper load distribution and a secure connection. Pay attention to the dimensions and thread specifications to guarantee a perfect fit.
✅ Torque Requirements
Consider the torque requirements for your specific application. Each JIS Hex Head Flange Bolt is rated for a certain level of torque, so make sure to select the correct bolt that can handle the forces your assembly will experience.
Conclusion
In conclusion, JIS Hex Head Flange Bolts are an essential fastener in many industries, offering superior load distribution, vibration resistance, and corrosion resistance. Their unique flange design makes them more reliable and cost-effective compared to traditional bolts, while also simplifying installation and reducing the need for additional components.
Whether you are working in the automotive, construction, marine, or aerospace industry, JIS Hex Head Flange Bolts are the ideal choice for securing critical components. With their enhanced performance and durability, these bolts help ensure the long-term success of your projects.



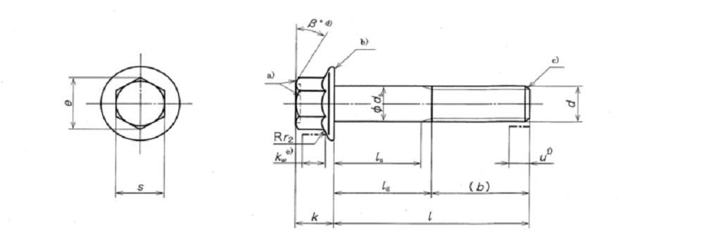
Product drawing




